
Xiaomi miclaw 是我们探索 Agent 的一小步,它是基于小米 MiMo 大模型构建的 AI 交互测试产品,今天开始小范围封闭测试。Xiaomi miclaw 聚焦验证大模型在小米“人车家全生态”系统中的执行能力,探索模型从“对话能力”向“系统级执行能力”的落地路径。它的能力来自四个层次:系统底层能力、个人上下文理解、生态互联、自进化。
它能让手机成为 AI 的工具,在理解你的意图和给予授权后,调用一方应用、生态能力,也能自主选择系统级工具,完成你的命令。它能认识你、记住你,也能判断你一句模糊的任务,帮你完成操作。它还能持续成长,能够调整自己的行为,也能扩展自己的能力,最后通过记忆系统把经验沉淀下来,越用越懂你。
由于这是一个前沿探索型产品,在稳定性、功耗表现与复杂场景执行成功率方面仍在持续优化过程中。部分高复杂度任务可能存在执行效率波动或阶段性失败的情况。本次封测不公开招募,采用邀请制。再次提示,不推荐在日常主力设备上升级,建议科技发烧友、 AI 重度用户事先做好数据安全备份,在可控环境中测试、体验。
01 系统底层能力:让 AI 有手有脚
▍为什么系统身份是前提
Xiaomi miclaw 以系统应用身份运行,拥有系统核心应用能力。
运行在应用沙箱内的 AI,无论模型多强,主要能做的事就是回答问题和联网搜索。系统级 AI 不一样,它能提供系统级的操控。
▍50+ 系统级工具
Xiaomi miclaw 把手机的系统能力封装成了 50+ 系统能力和生态服务(不断扩展中):

每个工具接收结构化参数,返回执行结果。哪些工具可用取决于用户授权了哪些权限。
▍基于大模型的推理-执行引擎
有工具还不够。关键是让模型自己决定调用顺序。Xiaomi miclaw 的核心引擎是一个推理-执行循环:
用户输入 → 模型推理(选工具、定参数)→ 工具执行 → 结果回传 → 模型继续推理 → … → 任务完成,输出回复
模型在每一步自己判断:该调哪个工具,传什么参数,做完了没有。工具执行有独立超时保护,全程异步架构,不阻塞系统线程。
底层对主流大模型协议做了统一抽象,换模型不用改上层逻辑。用户端的体验是流式更新:能看到 AI 正在调哪个工具、执行到哪一步。
▍上下文管理:多轮对话不丢线索
长对话不掉线,多轮工具调用最怕“聊着聊着忘了初心”。Xiaomi miclaw采用三级智能记忆管理:自动保留关键决策点,动态压缩冗余交互,核心指令本地缓存优化。即使连续执行20步复杂操作,AI依然记得你最初的需求背景,无需重复解释,让深度服务从一而终连贯顺畅。
-
轮次压缩:老对话整体压缩,突出最近的交互
-
Token 压缩:逼近上下文窗口上限时,按消息粒度智能压缩
同时,系统提示词采用多级设计,动态信息注入到首条用户消息。这个设计让提示词部分可以被模型缓存,实测节省 50-90% 的 token 开销。
02 个人上下文:让 AI 真正理解你
▍从”你说了什么”到”你过着什么生活”
一般的AI助手缺少足够的上下文语境,几乎只关注你发给它的那条消息。Xiaomi miclaw 在经过用户授权后,基于你的使用习惯给你提供服务。
▍”感知→关联→判断→行动”
普通应用只有”感知→行动”:收到通知,显示通知。Xiaomi miclaw 在中间加了两步,包括关联和判断,这是 AI Agent 和传统软件的分界线。
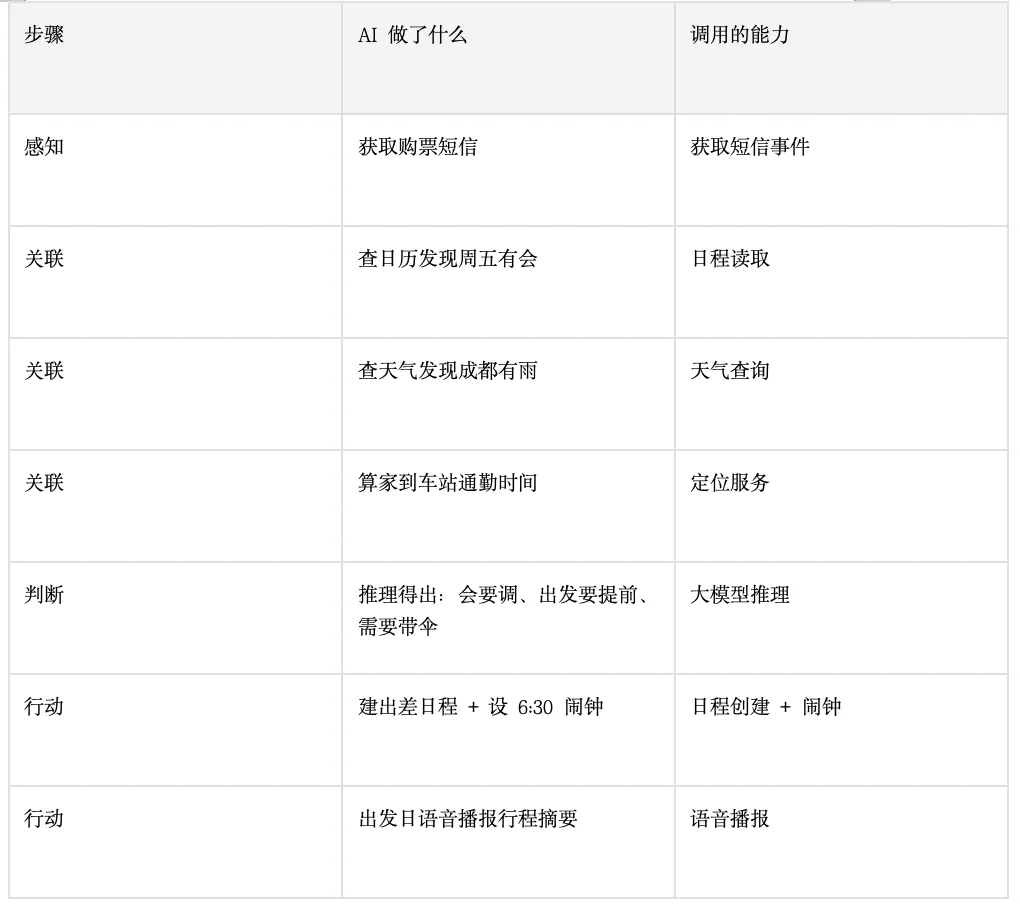
场景:出行自动准备
收到推送”购票成功 G1234 北京→成都 周五 08:30″。接下来发生了什么:


7 步自动完成,串联了 6 个工具。这里面模型的推理能力当然重要,但前提是 AI 能读到你的短信和日历。
场景:消费洞察
银行扣费短信 → AI 读取近 3 个月短信 → 关联历史发现两个视频平台同时在扣月费 → 判断内容重叠 → 月底推送消费简报,建议退订其中一个,每年省近 400 元。
▍数据安全
数据处理的基本原则:对话历史、用户配置、技能文件都存在设备本地,云端只在推理时传输当前对话消息,且数据在传输过程中经过加密,确保用户数据的安全和隐私。操作敏感的工具(如发短信、建日程)每次执行前会弹确认框。
03 生态互联:从一台手机到整个智能生活
▍当 AI 能帮助你控制家庭设备
前两章讲的都是手机本身。第三层把 AI 的手伸到手机之外,接入小米 IoT 生态。
米家平台连接了超过 10亿台设备 。Xiaomi miclaw 实现了完整的米家协议客户端,可以读取设备状态、发送控制指令,在用户授权的情况下,理论上能控制所有用户接入米家的 IoT 设备
这个协议客户端的关键工作是”翻译”:IoT 设备的能力定义通常是一套机器可读的规格描述(参数类型、取值范围、约束条件),Xiaomi miclaw 把它编译成大模型能理解的自然语言参数说明。经过翻译,模型看到的是”打开客厅空调,参数:开关(开/关)”这样的自然语言描述。
▍场景:家庭办公模式联动
日历事件”10:00 重要客户会议” → AI 判断需要安静环境:
-
手机自动静音
-
扫地机暂停
-
来电按紧急程度区分:老板来电震动提醒,快递员静默记录
-
会后恢复所有设备状态,推送未接来电和消息摘要
传统智能家居靠预设规则,Xiaomi miclaw 不同,AI 根据当前上下文实时判断该做什么。同样的”有会议”,如果是内部周会,AI 可能只静音手机;如果是重要客户到访,才会联动全屋设备。判断依据是什么?日程里写的是”重要客户”还是”周会”,你以前开会时的习惯,加上当前家里设备的状态。
▍开放协议扩展
生态不止于小米自有设备。两个开放通道让第三方也能接进来:
MCP(Model Context Protocol):AI 工具集成的开放标准。Xiaomi miclaw 实现了完整的 MCP 客户端,支持标准化通信协议、流式响应和异步服务发现。PC 上已有的数千个 MCP 工具,理论上可以直接接入手机 AI。
开放 SDK:Xiaomi miclaw 发布了第三方应用接入 SDK,通过签名级权限保护确保安全。第三方 App 主动声明自己能提供的工具能力,Xiaomi miclaw 动态发现和调用。适配关系反过来了:App 主动告诉 AI “我能做什么”,AI 按需调用。
04 自进化:AI 能力的持续增长
以上三层是 Xiaomi miclaw 出厂时就有的能力。但还有一点更值得说:它能做的事不是出厂时就定死的。
Xiaomi miclaw 的元能力,简单说就是”创造工具的工具”:
-
文件级记忆 → 创造任意数据结构。AI 用这个能力自主设计了记忆系统:创建记忆目录、定义存储格式、写入检索规则。用得越多,它越了解你的偏好、常用联系人、历史任务。
-
子智能体创建 → 专业分工。每个子智能体有独立提示词和工具白名单,在权限沙箱内独立执行。你可以有一个专门管日程的子智能体、一个专门做信息摘要的子智能体。
-
MCP 服务配置 → 动态接入外部能力,随时扩展可调用的工具范围。
-
脚本执行 → 沙箱运行 Python/JavaScript,具备通用编程能力。
这 4 种能力叠在一起,Xiaomi miclaw 就有了一条成长路线:先是调整自己的行为(改提示词和文件),再扩展自己的能力(造子智能体、接 MCP),最后通过记忆系统把经验沉淀下来,越用越懂你。
没有人预先写好这些流程。AI 拿到基础工具,自己组合出了更高阶的用法。
写在最后
有系统底层能力才能“动手”,有个人上下文才能理解你,有生态互联才能管到手机之外。而自进化,让这些能力不断强大。
当大模型真正长进手机系统里,手机本身就变成了 AI 的身体的一部分。
本文来自转载小米社区 ,不代表发现AI立场,如若转载,请联系原作者;如有侵权,请联系编辑删除。

